作为专业的汽车消费维权机构, “车质帮” 平台上线仅三个月,已累计协助近 40 位车主成功化解购车、用车、售车过程中的各类纠纷。凭借便捷高效的服务模式和专业的维权支持,迅速成长为国内汽车消费维权的重要力量,用实际行动为车主权益筑牢 “防护墙”。

车质帮以 “线上全平台 + 服务全场景” 为核心,搭建起多端联动的维权矩阵,实现汽车消费全周期权益守护。轻量化的车质帮小程序提供便捷查询与一键反馈功能,让车主随时随地提交诉求;官方官网(www.auto315.cn)打造权威维权指南与案例库,为车主提供专业参考;公众号、视频号、车家号等多平台内容矩阵,则通过图文解读、视频科普、案例分析等形式,普及维权知识、曝光典型问题。

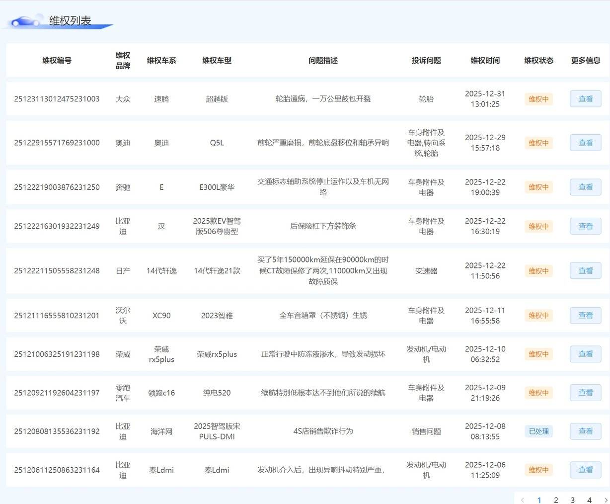
二、极简流程:让维权告别推诿扯皮
以往车主遭遇车辆续航虚标、车身异响、车漆爆皮、天窗漏水等问题时,常面临厂家与 4S 店相互推诿的困境。车质帮简化维权流程,让维权变得简单高效:车主只需通过微信搜索 “车质帮” 小程序,或登录官网,详细描述问题并上传相关照片、视频作为证据,提交后即可完成诉求登记。

三、双重资质加持:扛起行业责任与使命
作为山东省汽车流通协会会员单位和山东省汽车消费维权服务站,车质帮的维权服务获得官方认可与背书,也肩负起更重大的行业责任。


有一说一,这双重资质不仅提升了车质帮的维权公信力与执行力,更赋予其规范行业经营、降低维权成本、促进消费公平的重要使命,推动形成 “企业规范、消费者安心” 的良性汽车消费生态。
四、不忘初心:2026 持续守护车主权益
依托三个多月的维权服务实践,“车质帮”已构建起 “服务行业 + 守护用户” 的双重价值闭环,成为国内汽车消费维权的重要工具。
未来,车质帮将继续坚守初心,深耕汽车消费维权领域,不断优化服务流程、提升专业能力,持续为广大车主提供更便捷、更高效、更专业的维权支持,协助车主维护自身合法权益。

2026年,让我们持续守护车主权益!