
本文来自微信公众号:,作者:我在山姆送外卖,题图来自:视觉中国
这篇文章来自我的亲身体验,每一个字都是真实的记录,带着汗水与血泪。
这不仅仅是我个人的经历,是外卖员这个生态行业的日常,是带着镣铐跳舞的一群为生计奔波的人的日常,是从未被大众所了解的真实情况,是大多数外卖员不想争取或者想争取而诉求无门默默忍受的现实,是堪比夏衍笔下的《包身工》处境的一群人。
我想为外卖员这个行业员们争取一点点关注,哪怕只有一点点。
作为消费者,我们对外卖员的直观印象大多只有两个方面——外卖送达不及时、违反交规多。但事实上,违反交规平台一般不做处罚,“送达不及时”平台罚款并不严重,真正让人苦不堪言的是不为人知的罚款项目。这一章我将作为山姆外卖员为大家揭开外卖行业到底有多少种罚款。
除了前文提到的出勤考核,新骑手在与山姆第三方合作公司签合同时,关于罚款部分只有孤零零的六个字——“客诉&平台罚款”,后面只有一句解释“按照平台账单罚款”。虽然入职培训里确实有“这不可以那不可以”,但是并没有罚款细则。我没有多问,站长也就没有更多的答复,我以为只有极端情况下才会有罚款。
直到我深入外卖行业,几乎每个罚款类目都趟过一遍雷后,才对那六个字有了刻骨铭心的理解。针对外卖骑手多达十几项的罚款类别,每一条都让人目瞪口呆。

我一度天真地认为,这些规则是外卖平台为了对骑手规范管理、提升用户体验而设立的。但是每个罚款项目出现后,平台并不立即告知骑手,很多骑手被罚款三五天后才得知,甚至有人只能在工资月结单里看到罚款项目。到那时已经过了申诉期,很多人甚至都不知道为什么会被处罚了。
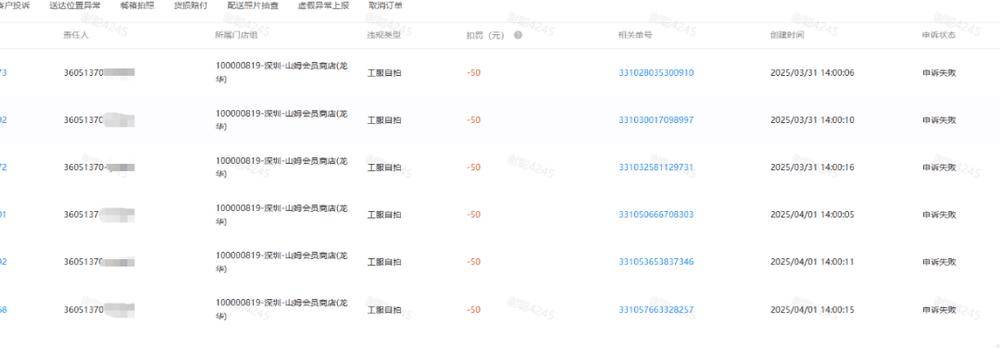
工服自拍——不合格50元/次
一般在订单送达后随机弹出该提示,骑手必须在3分钟内完成自拍,要求佩戴头盔,工服的山姆&达达logo必须清晰可见。该抽检平均每天两三次。
我认为一些骑手因为不佩戴头盔无法完成自拍被罚款,是无可指摘的。问题在于,系统经常在恶劣天气抽检,一旦抽检异常就会连续数次抽检。罚款一般在三四天后出来,等系统提示或者站长通知到骑手,黄花菜都凉了。
有的新骑手因为培训不到位,自拍元素不齐全,被连续罚款;有的骑手因为电梯里手机信号弱,没有及时接到自拍提示,没能在规定时间完成自拍,被罚款。
而我的几次“自拍不合格”,堪称奇葩!
第一次是雨天(又是下雨天!),手机前置摄像头摔坏了,自拍模糊,被判定抽检不合格,当天第二次抽检时,我才反应过来还有后置摄像头可用,赶紧请路人帮忙拍照,才“只”被罚款100元。

(连续两天6次抽检不合格,被罚款300元)
第二次则更为离谱。站点分发给我不合格的雨衣——只有达达标志而没有山姆logo。就这样两天被抽检6次,扣掉了我整整300元。系统申诉无果,站长承诺“发工资前帮忙争取”,到最后不了了之,又是我自己吞下苦果。
真佩服达达系统的这种精准收割能力。
严重超时——15元/次
这也是我为什么说“超时罚款不严重”,因为只有严重超时才会被罚15元,相比其他项目,罚款已经是最少了。
在超时处罚这项上,平台做得还是人性化的。
对骑手而言,超时30分钟以内只扣5分的服务分,无罚款;
超时8分钟以上会影响站点KPI,所以可能会有站长“代拉定位”的可能;
只有送达超时30分钟以上才会被判定严重超时,扣除30积分并罚款15元。
大部分骑手严重超时的原因基本都是遇到交通事故,个别新手会找不到位置而出现严重超时的现象。
我的两三次严重超时,都因为受伤所致,那几乎是强忍疼痛、咬牙坚持送完的。可换来的不是站长的慰问,而是冷冰冰的“为什么超时那么久”。
虚假签收——200元/单
只要商品未送达顾客手中,提前点到达,一旦被顾客投诉或者系统检测,就会被判定虚假签收;即便订单已送达,如果未与顾客电话沟通,被顾客投诉也会被判定为虚假签收。
此处罚可申诉,但是投诉通过率极低。
不少骑手为了图方便,不与顾客沟通,即在系统内点击“已送达”,这当然是一种违规的行为。
我也有提前点到达(只有距离200米内才可以点击已送达)的情况,但是一般都提前和顾客沟通,因为某原因稍晚点送达,大部分顾客也通情达理,所以我也没有因为该原因被处罚过。
唯一一次可能被处罚是在水榭春天。当天订单送达不及时,与顾客沟通后,我便点了到达。因电梯太慢,顾客在门口多等了一会儿,当场指着我骂了十分钟,还要求我提供联系站长的方式,投诉我和站长。我一再道歉、鞠躬,最后还是顾客丈夫出面劝解,才没有被投诉。否则,那次虚假签收+客诉叠加,我只能“吃不了兜着走”了。
仅有的一次虚假签收是顾客填错了地址,我送到了地址上的楼栋,顾客因未收到而投诉。此时,我已经送第几趟了,然后折返回去,找到货物,按照新地址送达顾客手中。耗费接近一个小时的时间,虚假签收依然未被撤销。我应该感谢的是货物没有被别人拿走(这种情况是时有发生的)。
送达不及时——50元/单
顾客投诉超时未能送到即被判定“送达不及时”,此处罚不可申诉,而且可以和严重超时叠加处罚。
一般情况下,订单送达前骑手都会与顾客电联,但是因个人原因或者顾客地址不详细原因,将货物送错地方的情况也会被顾客投诉送达不及时。
我曾经有两次把货送错了地方,再取回送达顾客,已经超时,然后被顾客投诉“送达不及时”。没有被顾客投诉虚假签收,我已经很感激了。
商品破损、漏货缺货——100元/次
如字面意思。骑手往往只能自掏腰包先行赔付给顾客,然后给顾客好好解释,请顾客撤销投诉,如顾客撤诉,可免处罚。
商品破损是常见现象,鸡蛋、西瓜、蛋糕等易碎品在摆货不当的情况下,都比较容易出现破损。大多数情况下,发现破损,我都已经在顾客投诉前先和顾客沟通赔付给顾客了。非常感激的是,很多顾客体谅骑手,都没有让骑手赔偿(容后详述)。
新手漏货缺货现象比较严重,多个订单同时配送,货物品类多时,也难免会出现送错货的现象。很欣慰的是大多数顾客都通情达理,把货物补上就可以了。只是如果货物丢失,免不了自己买单。
负责与顾客沟通的副站长(也是最早带我的队长)是一位兢兢业业的人,为了骑手们商品破损的事情反复与顾客沟通,尽量降低顾客投诉的可能,这方面是值得肯定的。
高峰期不上线——100~500元,长时间不接单——100~500元
虽然骑手们可以“自由安排工作时间”,但是高峰期不得请假,周末不得请假,节假日不得请假,恶劣天气不得请假。而且他们不享受任何国家法定节假日上班政策,偶尔会有少数的节假日补贴,但是需要达成极其严苛的条件,比如前述高温补贴的获得条件。
如果骑手长时间不接单(超过两个小时),站长就有权开出罚单。可以说这两项罚款,生杀大权都掌握在站长手中。我刚入职不久的时候,请一下假,就经常被黄毛威胁“你刚来就想请假,信不信我给你开罚单?”
总体来说,前任站长在这方面还是比较“仁慈”的,很少使用这项权利。我经常看他一个人躲在角落里,拿着手机给骑手们挨个打电话。也许正是这种“杀伐不果断”的情况,导致夏天高峰期压单严重,他才被撤换掉了。
果然,新站长来后,罚单数量成倍增长。据说,站长大多数是由骑手提拔起来的,这大概就是“屠龙少年,终成恶龙”的真实写照吧。
骑手们大多文化水平程度有限,也许惩罚是最有效的手段。但是岂不知重赏之下,才有勇夫?
一味地压榨骑手们的体力,用鞭子抽打着骑手们往前走。很多骑手自诩牛马,岂不知,在古代耕牛是最好的生产资料,是用来保护的;战马是用来打仗的,专门吃的精粮细料。这种待遇,连骡子都不如!
送达位置异常——50元/次
该情况是指骑手点送达时,系统判定不在送达范围内的情况,主要也是为了防止骑手虚假签收,提前点到达。但是也存在骑手已经将货物送达,被判位置异常的情况。
除非有明确证据,比如门牌号拍照等。
我有一次送华业玫瑰一期时,着急送单,忘记点到达,等到了龙光玖悦台,绿灯变红灯,再回去已经太迟了。侥幸之下,就拍了华业玫瑰小区的全景图上传,理所当然地被判定了,送达位置异常。这也是唯一一次因为“送达位置异常”被罚款。
还有一次是职业生涯唯一一次申诉成功的案例,送壹城城市花园时,送单后,定位异常,定位位置1公里之远,只能拍了小区的门牌号。第一次被判定了异常,二次申诉成功。
代拉定位——50元/次
代拉定位是送达位置异常的特殊情况。
为了保住站点的KPI(送达时间不能超时8分钟的比例),站长可以利用权限帮助骑手提前“送达”,这种情况被称作“代拉定位”。骑手在新手阶段对配送地点不熟或订单送达后忘记在系统内点“到达”,都可能出现代拉定位的情况。
代拉定位除了罚款,还有封号,严重者直接辞退。
因为站长,我被封禁过两次。前述已经讲过我在6月份被封号罚款的情况。
配送星河片区时,突降暴雨导致订单无法及时送达顾客,站长主动帮我“完成订单”。最终我不仅被处罚款,还被封号三天,连带后续两天“缺勤”。一来一回还被罚款500多块钱,没有任何解释,也没有一句道歉。自此以后,我再也没有同意过他们代拉定位。他们的KPI和我有什么关系!

奇怪的是,既然系统判定此行为违规,为什么要允许这个功能存在?
服务态度差——200元/次
顾客投诉就成立,不可申诉。
我没有被罚款过,只有一次差点儿被投诉。龙军花园刚禁止电动车入内时,我还不清楚怎么进去最方便。那次订单十几公斤,顾客家离大门口五六百米,还要弯弯绕绕。为了方便,我联系顾客请她和保安协调一下放行电动车。顾客却嫌我事儿多,别人都可以进去,催我赶紧送进去,我一时激动就把电话给挂了。送达顾客家后,顾客质问我为什么要挂她电话。我只好再次认怂道歉,才让顾客冷静下来,承诺不投诉我。
日常行为规范罚款——金额不等
未佩戴头盔,穿拖鞋,衣着不整洁、不注意卫生,箱子有异物等,被抽查不合格都可能会被罚款。

除此之外,还有一些针对骑手的严苛行为,比如骑手离职必须提前一个月报备,否则配送费降低50%。
有效出勤达到26天才有全勤奖——有效出勤是指每天出勤至少8小时,且送单时间达到6小时以上。林林总总,针对骑手的罚款项目多得吓人,甚至连顾客问站点要一下骑手的联系方式都可能会被判定客诉。
不完全统计,在我已经格外小心翼翼的情况下,半年里仍因各种名目罚款被扣除了1000多元,折合下来每个月150元以上。而这已经算是很低的了。
总结下来,无论哪个项目罚款,骑手往往都在几天后才会得知处罚结果,甚至发工资时才会留意到罚款事项。几乎所有罚款事项都有一个共性:站长免责,平台免责,骑手全责。骑手们辛辛苦苦跑了一个月的订单最终因为各种罚款,收入所剩无几,而这些钱是进了谁的口袋?算作什么收入项目,不得而知。
而据我所知,山姆的这些罚款项目相对其他平台还只是小巫见大巫,美团等外卖平台更严苛。除了外卖骑手,还有快递员们,有快递员曾经跟我抱怨,说他从早到晚干一天,快递费还不够顾客罚款。因为有了这份工作,我有一个快递,从早上6点送到晚上8点,依然没送到,快递员还多次挂我电话,我最终还是忍住了,没有投诉他。