"在长乐金峰广场的西南侧,伫立着一座建筑面积达11万㎡大型商业综合体——金港城商业中心。每当夜幕降临,霓虹闪烁,这里便成为整个金峰镇最繁华所在。2019年1月,万科旗下印力商业进驻,该中心正式更名为长乐印象汇。如今,印力撤场、永辉撤店,金港城商业中心被以2.58亿起拍价上架拍卖,令人唏嘘。"
▎金港城商业中心,超3万㎡商业将被拍卖
根据阿里法拍平台消息,合肥市中级人民法院将于12月30日公开拍卖长乐金峰镇金港城商业中心E商场商业房产,标的评估价约2.87亿,起拍价约2.58亿。

根据介绍,该拍品所有人为福建省钜恒置业有限公司;此次拍卖的商场共四层,2018年建成;土地用途为商服用地;建筑面积约30433㎡,起拍单价折合约8478.2元/㎡。
目前,拍品已被合肥市中级人民法院查封。


拍品抵押物租赁情况显示,商场一层、二层共8527㎡自2017年5月20日签订租赁合同,租赁期20年;另外,商场一层818.64㎡自2020年2月15日签订租赁合同,租赁期10年。
▎印象汇进驻,曾是临空经济区唯一商业中心
资料显示,金港城商业中心项目位于金峰广场的西南侧,金港路北侧,是临空经济区的核心区之一,西边为大型居住区,北为星级酒店、政府行政中心、市政广场,商场于2018年建成。

项目总建筑面积11万㎡,集购物中心、风情步行街、SOHO等业态于一体。2019年1月8日万科旗下印力商业举行发布会,将原金港城商业中心正式更名为长乐印象汇。

长乐印象汇作为当年临空经济区唯一的商业中心,汇聚国内外时尚品牌,组合多元业态,成为长乐商业新旗舰,并携手国内外知名品牌,打造长乐金峰生活新中心、时尚新中心、美食新中心、娱乐新中心和体验新中心。
▎印力撤场、永辉撤店,商场经营惨淡
据悉,该项目从筹划起就被给予厚望,然而开业后的运营似乎不尽人意。2020年12月,有网友反映,金港城商业中心在宣传时已不使用“印力”或“印象汇”,对此,经金峰镇确认,印象汇已撤出金港城商业中心。

而永辉超市撤出金港城商业中心则是今年9月份的事。9月23日,永辉超市金港城店发布停业公告,宣布于10月9日起停止营业。据悉,该门店于2018年就已开业,2021年10月,永辉超市斥资升级改造后重新开业。

近日,有网友打卡金港城商业中心发现,永辉超市撤场后,商场内店铺空置更严重,此外,商业街两侧,商家都已搬空了。金峰镇曾经最繁华商场,如今也走向了落寞。

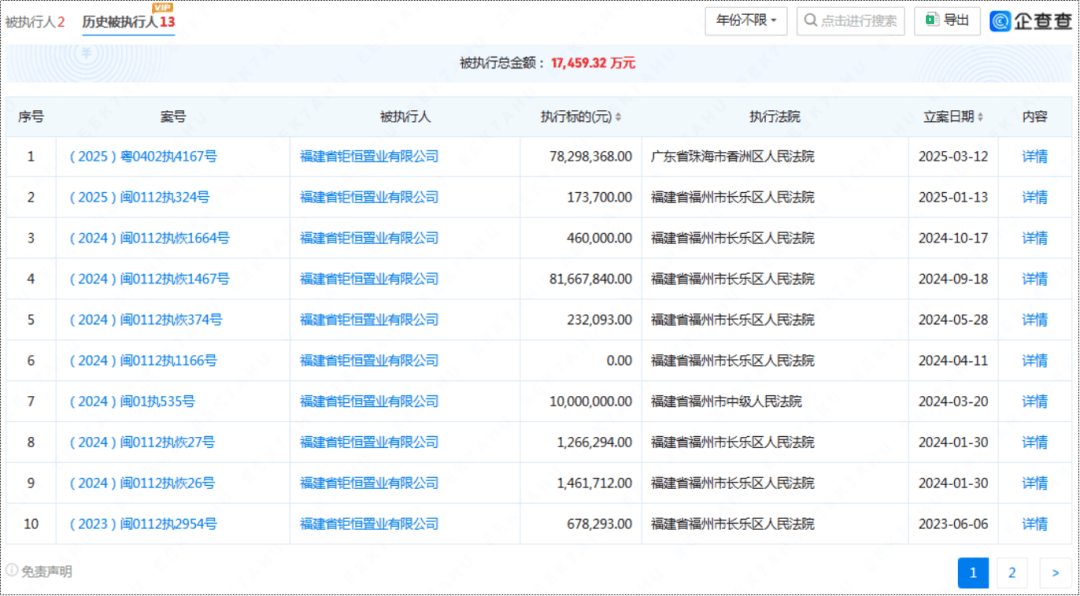
企查查信息显示,福建省钜恒置业有限公司已成为被执行人,被执行金额超4.93亿元。
【购房资讯轻松享,快来关注乐居网】
文章来源:乐居买房